
随着高压电力设备绝缘监测技术的发展,微电流(毫安,微安级)传感器应用越来越广泛,而单匝穿心式微电流传感器由于其原、副边隔离,对设备接线无影响等特点,成为高压设备绝缘在线监测用传感器的首选。对于此种电流传感器,要求其精确度高,有良好的抗电磁干扰能力和长时间的稳定性。传统的无源传感器无法保证相位变换误差的精确度和稳定性,已难以满足要求。采用有源零磁通技术的微电流传感器具备了上述优良性能,能对变压器,电流互感器,电压互感器,耦合电容器,避雷器等高压设备的泄漏电流进行准确测量。
TRXL系列有源零磁通泄漏电流传感器是专门为高压电气设备绝缘在线监测而研制的一种微电流传感器。选用起始导磁率高的材料做铁芯,采用了独特的深度负反馈技术和多层金属屏蔽措施,能够对铁芯全自动补偿,使铁芯工作在理想的零磁通状态。该传感器能够准确检测100μA—700mA的工频电流。相位变换误差不大于0.01°,具有良好温度特性和电磁场干扰能力,完全满足复杂的电站现场干扰下的设备取样的精确度。
可准确测量μA级电流,测量精度高,线性度好
多重屏蔽,抗干扰能力强,能在复杂环境下工作
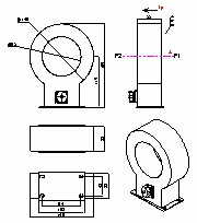
可选端子输出或航空插输出
特殊防水防锈蚀金属外壳,环氧树脂封灌,可在户外长期工作

| 电气 性能 参数 |
电气符号 | 性能参数 | 小信号测量(有源) | |
|---|---|---|---|---|
| IN | 额定输入 | 500mARMS | ||
| IP | 可测范围 | 0.1mA~1A | ||
| VOUT | 额定输出 | 3.53VRMS | ||
| X | 准确度@IPN | 0.05% | ||
| εL | 线性度 | ≤0.05% | ||
| Uc | 供电电压 | ±12V | ||
| Voff | 失调电压 | 1mV | ||
| IC | 最大耗电 | 10mA | ||
| f | 工作频率 | 50~400Hz | ||
| TA | 工作温度 | -40℃~+85℃ | ||
| TS | 储藏温度 | -40℃~+100℃ | ||
| 机械 结构 参数 |
外 壳 | 金属外壳 | 输出方式 | 接线端子/防水航插 |
| 铁芯材质 | 纳米晶/坡莫合金 | 封 灌 | 柔性硅胶&环氧树脂 | |
| 磁屏结构 | 碳钢/坡莫合金 | 施工方案 | 底座安装固定 | |
注:可按客户的要求定制(穿心孔径、外形尺寸、参数变比)